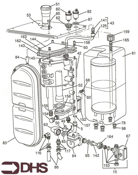
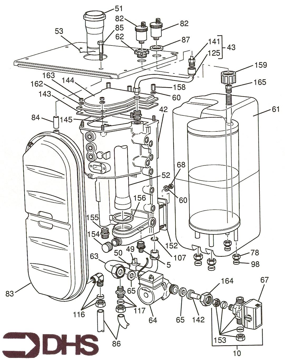
Glowworm Energysaver Combi 80 / HEAT EXCHANGER (Page 2)

Brand: Glowworm Range: ENERGYSAVER Model: Combi 80 GC Number: 47-047-01

Here you can find the spare parts for the Glowworm Energysaver Combi 80. Can't find the part you're looking for? You can contact us and a member of our team will be more than happy to help find the part you need.

All of our boiler manuals are free to download from our boiler manuals section

143

GLOWWORM S801123 HEAT EXCHANGER TOP PANEL GASKET

Part No: 1336563 MPN: S801123

Sorry, this part is now obsolete

View Part Details
154

GLOWWORM S801261 SEALING CAP(037421)

Part No: 1336631 MPN: S801261

Sorry, this part is now obsolete

View Part Details
GLOWWORM A700067.20 THREE WAY VALVE MOTOR 067

GLOWWORM A700067.20 THREE WAY VALVE MOTOR

Part No: 1340110 MPN: A700067.20

£112.79 inc VAT

In stock - Next day delivery available

159

GLOWWORM S801266 SECURING RING(037613)

Part No: 1336636 MPN: S801266

Sorry, this part is now obsolete

View Part Details
063

GLOWWORM S801048 RETURN PIPE (137210)

Part No: 1336504 MPN: S801048

Sorry, this part is now obsolete

View Part Details
086

GLOWWORM S801072 EXPANSION VESSEL PIPE (137228)

Part No: 1336521 MPN: S801072

Sorry, this part is now obsolete

View Part Details
GLOWWORM S801200 ADAPTER CONDENSATE 437902.2 005

GLOWWORM S801200 ADAPTER CONDENSATE 437902.2

Part No: 1336602 MPN: S801200

£100.80 inc VAT

In stock - Next day delivery available

164

GLOWWORM S801281 PUMP CONN.NUT (600057)

Part No: 1336639 MPN: S801281

Sorry, this part is now obsolete

View Part Details
117

GLOWWORM S801098 CROSS OVER COUPLING (632001)

Part No: 1336540 MPN: S801098

Sorry, this part is now obsolete

View Part Details
052

GLOWWORM S801037 FLUE PIPE (137903)

Part No: 1336493 MPN: S801037

Sorry, this part is now obsolete

View Part Details
142

GLOWWORM S801122 PUMP CONNECTOR (037202)

Part No: 1336562 MPN: S801122

Sorry, this part is now obsolete

View Part Details
GLOWWORM 0020076465 TEMPERATURE LIMITER 049

GLOWWORM 0020076465 TEMPERATURE LIMITER

Part No: 1339989 MPN: 0020076465

Sorry, this part is now obsolete

View Part Details
155

GLOWWORM S801262 COUPLING(600046)

Part No: 1336632 MPN: S801262

Sorry, this part is now obsolete

View Part Details
062

GLOWWORM S801047 SECURING RING (037612)

Part No: 1336503 MPN: S801047

Sorry, this part is now obsolete

View Part Details
085

GLOWWORM S801071 BOLT (640059)

Part No: 1336520 MPN: S801071

Sorry, this part is now obsolete

View Part Details
39 products found