Boulter Buderus 500 24C

We offer a wide range of spare parts for the Boulter Buderus 500 24C. Can't find the part you're looking for? You can contact us (using the details at the bottom of the page) and we'll be happy to help you find the part you need.

All of our boiler manuals are free to download from our boiler manuals section.

ALL PARTS
CASING logo
CASING
CHASIS logo
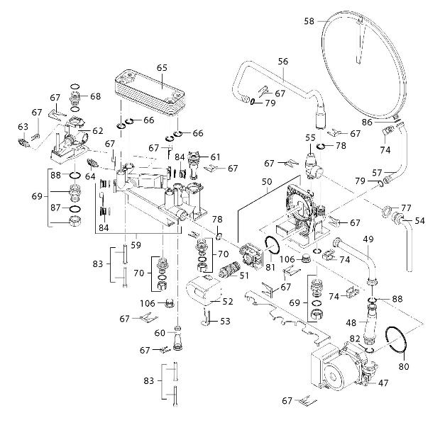
CHASIS
CONTROL PANEL logo
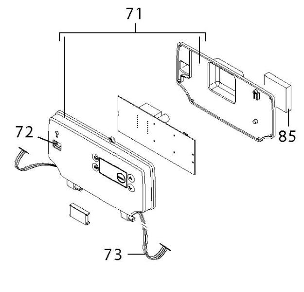
CONTROL PANEL
FITTINGS logo
FITTINGS
HEAT EXCHANGER logo
HEAT EXCHANGER
HYDRAULICS logo
HYDRAULICS