Ideal Domestic Logic HEAT 18 / GAS MANAGEMENT
Brand: Ideal Domestic Range: LOGIC Model: HEAT 18
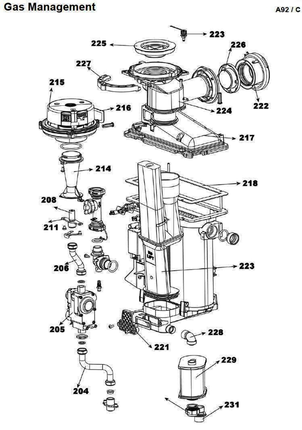
We have a wide range of spare parts for the Ideal Domestic Logic HEAT 18. Can't find the part you're looking for? You can contact us and a member of our team will be more than happy to help find the part you need.
All of our boiler manuals are free to download from our boiler manuals section
227 Ideal 175983 Clamp Retaining Flue Turret - Heat - Logic/ProCombi/Independent
Part No: 1781656 MPN: 175983
System AAH Onwards System IE PRE AAJ
211 Ideal 175566 Injector Assembly Kit - 24kW - Logic Heat/ProCombi Exclusive/Logic
Part No: 1780937 MPN: 175566
Pre ABU
