Ideal Domestic Mexico Super 3 CF 100 / BOILER

Brand: Ideal Domestic Range: MEXICO Super 3 Model: CF 100 GC Number: 41-348-18

We offer a wide range of spare parts for the Ideal Domestic Mexico Super 3 CF 100. Can't find the part you're looking for? You can contact us and a member of our team will be more than happy to help find the part you need.

Installation Manual

All of our boiler manuals are free to download from our boiler manuals section

IDEAL 079756 GAS VALVE ASS MX2 V4600 A1130 21

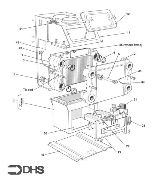
IDEAL 079756 GAS VALVE ASS MX2 V4600 A1130

Part No: 1175088 MPN: 079756

£326.40 inc VAT

In stock - Next day delivery available

Ideal 055865 Thermostat Pocket Assembly 6339004 - Cavalcade/Concord/Mexico 5

£36.00 inc VAT

In stock - Next day delivery available

34

Ideal 003147 Split Pin 1/16 X 1 Brass - Henrad/Mexico/Mexico Super

Part No: 1170071 MPN: 003147

£3.95 inc VAT

Available in 5-7 working days

6

IDEAL 057160 DIST TUBE ASS MX RS/CF100

Part No: 1170864 MPN: 057160

Sorry, this part is now obsolete

View Part Details
27

IDEAL 013580 1/2INR/ANGLEDHILL GAS COCK F/F

Part No: 1170519 MPN: 013580

Sorry, this part is now obsolete

View Part Details
8

IDEAL 075287 C/CHBR FRT INS+FTTGS:MX2BED

Part No: 1174020 MPN: 075287

Sorry, this part is now obsolete

View Part Details
13

IDEAL 075711 FRONT PLATE & GAS LINE KIT SUPER CF3/100

Part No: 1174324 MPN: 075711

Sorry, this part is now obsolete

View Part Details
IDEAL 075372 DOWNDRAUGHT STAT AND FTTGS:MX3 CF 49

IDEAL 075372 DOWNDRAUGHT STAT AND FTTGS:MX3 CF

Part No: 1174059 MPN: 075372

Sorry, this part is now obsolete

View Part Details
48

IDEAL 139557 D D BK PNL/TOP INFL MX CF100

Part No: 1176736 MPN: 139557

Sorry, this part is now obsolete

View Part Details
IDEAL 003939 SPARK GENERATOR 60080/002 23

IDEAL 003939 SPARK GENERATOR 60080/002

Part No: 1170147 MPN: 003939

Sorry, this part is now obsolete

View Part Details
10

IDEAL 075285 COMBUSTION CHAMBER SD INSL+FTTG:MX2BED 100

Part No: 1174018 MPN: 075285

Sorry, this part is now obsolete

View Part Details
51

IDEAL 075378 TOP BRACKET C/W FIXINGS MX3

Part No: 1174063 MPN: 075378

Sorry, this part is now obsolete

View Part Details
33

IDEAL 057454 THERMO PHIAL BRKT MEX

Part No: 1170872 MPN: 057454

Sorry, this part is now obsolete

View Part Details
7

IDEAL 075301 C/CHBR+INSL/SEALS:MX2BED CF100

Part No: 1174030 MPN: 075301

Sorry, this part is now obsolete

View Part Details
1

IDEAL 150747 HEAT EXCHANGER ASS MX 3 CF100 4 SECTION

Part No: 1176833 MPN: 150747

Sorry, this part is now obsolete

View Part Details
18 products found