Kinder Nevada Sc LPG

We offer a wide range of spare parts for the Kinder Nevada Sc LPG. Can't find the part you're looking for? You can contact us (using the details at the bottom of the page) and we'll be happy to help you find the part you need.

All of our boiler manuals are free to download from our boiler manuals section.

ALL PARTS
ALL PARTS
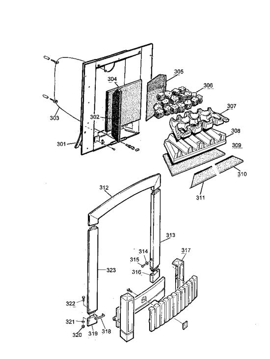
FIREBOX ASSY logo
FIREBOX ASSY
GAS PARTS logo
GAS PARTS