DERWENT

We offer a wide range of spare parts for the DERWENT. Can't find the part you're looking for? You can contact us (using the details at the bottom of the page) and we'll be happy to help you find the part you need.

All of our boiler manuals are free to download from our boiler manuals section.

ALL PARTS FOR THIS MODEL
CASING ASSY logo
CASING ASSY
CONTROL PANEL logo
CONTROL PANEL
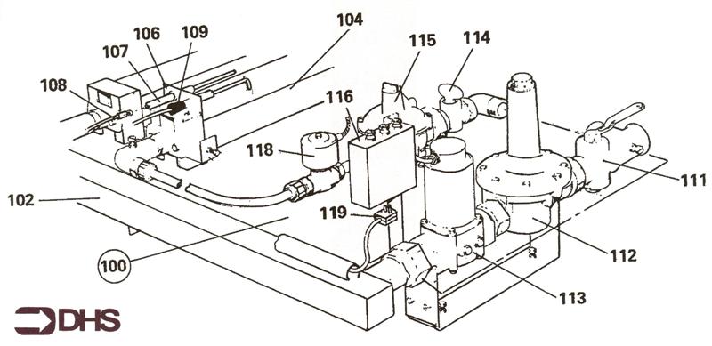
GAS ASSY logo
GAS ASSY
WATERWAY/ FLUEHOOD ASSY logo
WATERWAY/ FLUEHOOD ASSY