Baxi Platinum 2 Combi Ga 33

We offer a wide range of spare parts for the Baxi Platinum 2 Combi Ga 33. Can't find the part you're looking for? You can contact us (using the details at the bottom of the page) and we'll be happy to help you find the part you need.

All of our boiler manuals are free to download from our boiler manuals section.

ALL PARTS
COMBUSTION BOX logo
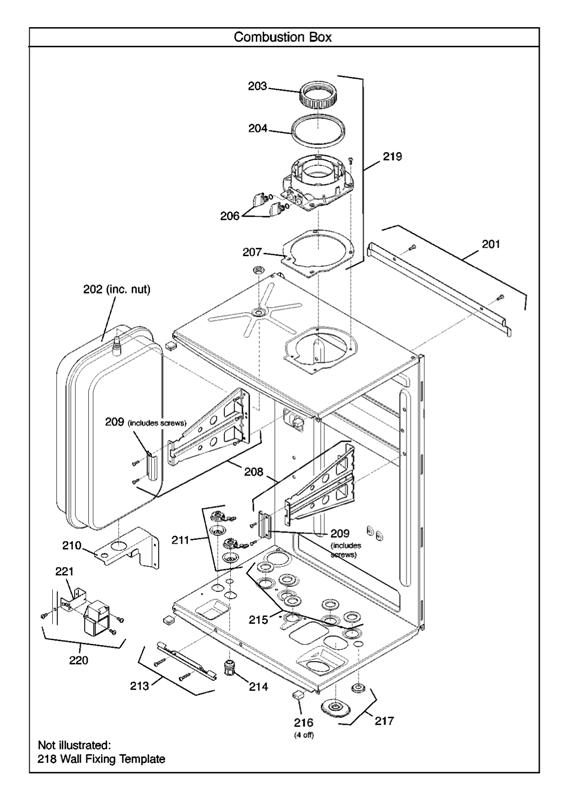
COMBUSTION BOX
CONTROLS logo
CONTROLS
FLUE logo
FLUE
HEAT EXCHANGER logo
HEAT EXCHANGER
HYDRAULICS logo
HYDRAULICS
OUTER CASE logo
OUTER CASE
WALL JIG AND HYDRAULICS logo
WALL JIG AND HYDRAULICS
WIRING HARNESS logo
WIRING HARNESS