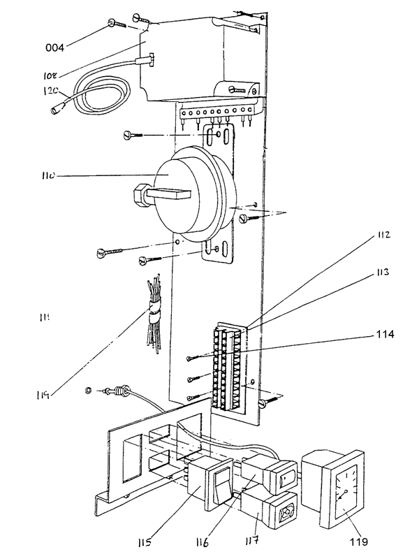
Pressure Gauge for KESTON K K50 SYSTEM NG

You can narrow your results further by choosing one of the following sub-appliances:

118

KESTON B04424001 PRESSURE GAUGE (INC WASHER AND ADAPTOR)

Part No: 1630715 MPN: B04424001

Sorry, this part is now obsolete

View Part Details
1 product found