Miscellaneous for MAG-SINE 325/9 W (1993-1995 )

You can narrow your results further by choosing one of the following sub-appliances:

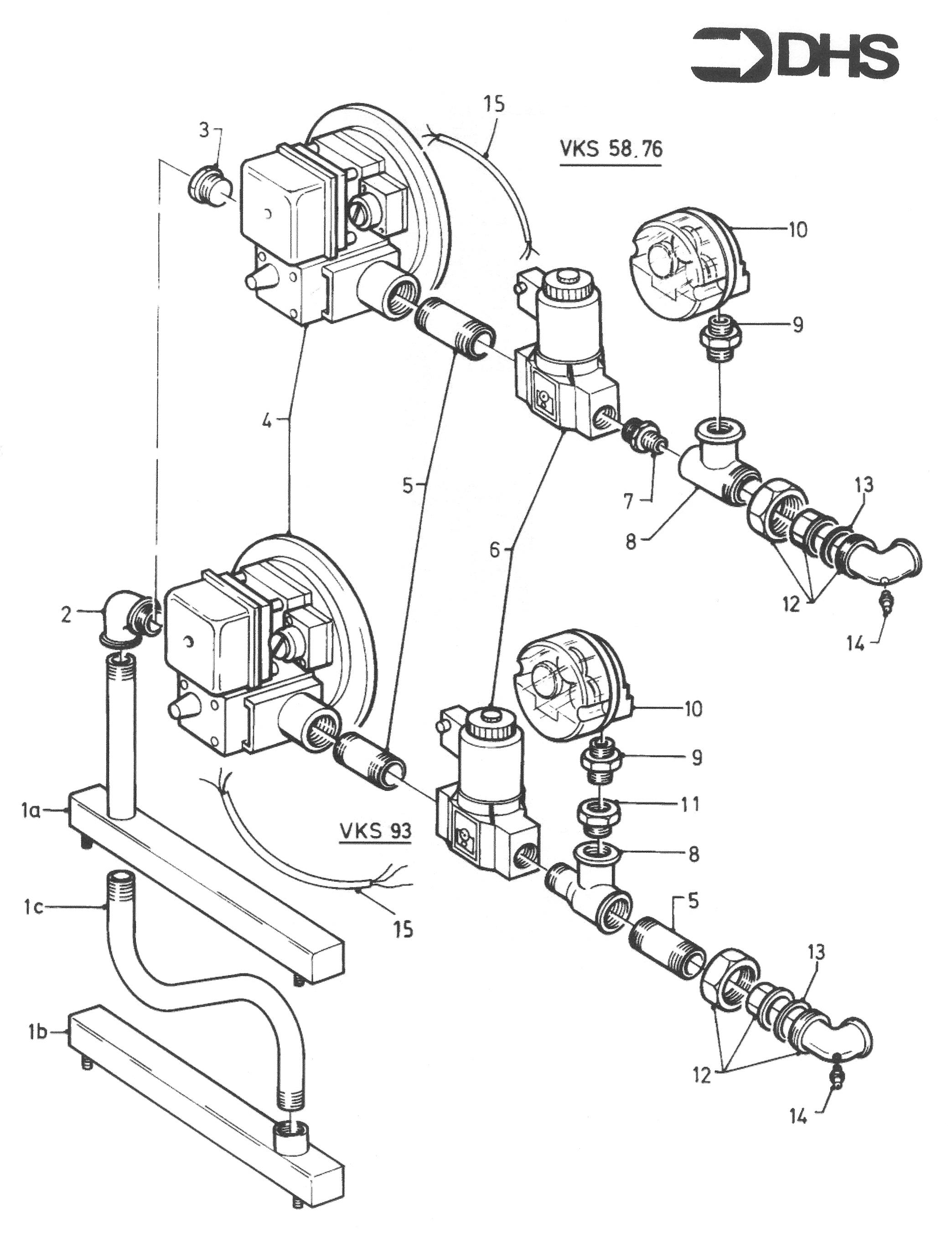
025

VAILLANT 980766 SEAL

Part No: 1378589 MPN: 0010027618

£8.15 inc VAT

Available in 5-7 working days

010

VAILLANT 235727 SCREW

Part No: 1375121 MPN: 0010027608

£7.91 inc VAT

Available in 5-7 working days

018

VAIL 0020107791 INJECTOR

Part No: 1383261 MPN: 0020107791

£10.06 inc VAT

Available in 5-7 working days

024

VAIL 285517 PUSH BUTTON - OBSOLETE

Part No: 1377778 MPN: 285517

Sorry, this part is now obsolete

View Part Details
010

VAILLANT 084848 CONNECTION PIECE

Part No: 1373136 MPN: 084848

Sorry, this part is now obsolete

View Part Details
017

VAILLANT 124835 BUSH

Part No: 1375742 MPN: 124835

Sorry, this part is now obsolete

View Part Details
012

VAIL 192119 PROTECTION SHEET - OBSOLETE

Part No: 1376824 MPN: 192119

Sorry, this part is now obsolete

View Part Details
014

VAIL 292211 BINDING RING - OBSOLETE

Part No: 1377862 MPN: 292211

Sorry, this part is now obsolete

View Part Details
001

VAILLANT 083799 COLD WATER TUBE

Part No: 1373080 MPN: 083799

Sorry, this part is now obsolete

View Part Details
021/022/02

VAILLANT 089549 CONNECTION LINE

Part No: 1373306 MPN: 089549

Sorry, this part is now obsolete

View Part Details
004

VAIL 170327 MAGNETO - OBSOLETE

Part No: 1376434 MPN: 170327

Sorry, this part is now obsolete

View Part Details
11 products found