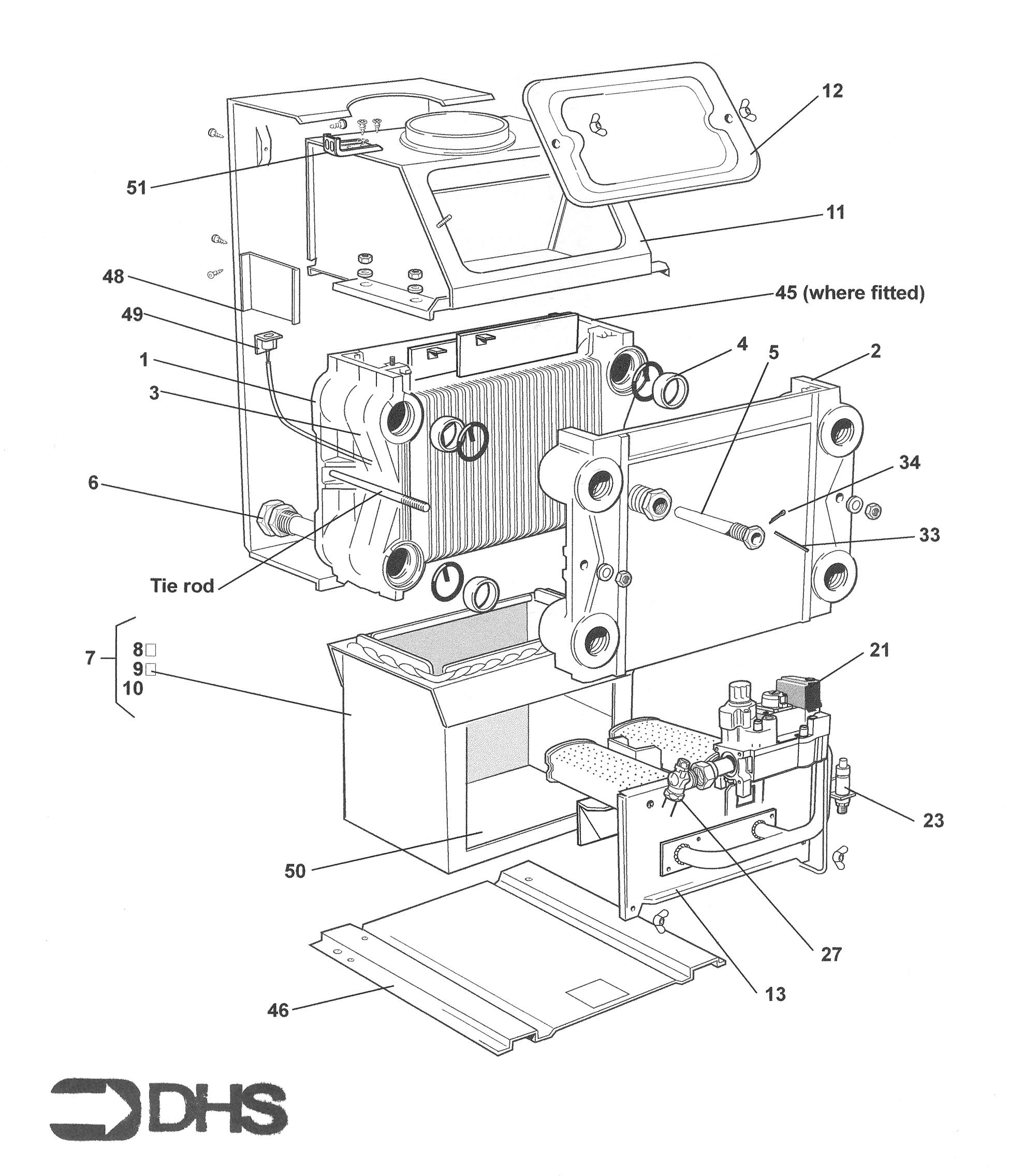
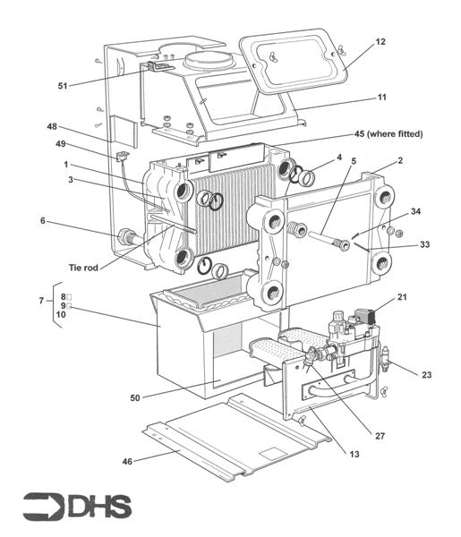
Heat Exchanger for Ideal Mexico Super 3 Propane CF 100

Brand: Ideal Range: MEXICO Super 3 PROPANE Model: CF 100 GC Number: 41-349-24

We offer a wide range of spare parts for the Ideal Mexico Super 3 Propane CF 100. Can't find the part you're looking for? You can contact us and a member of our team will be more than happy to help find the part you need.

Installation Manual

All of our boiler manuals are free to download from our boiler manuals section

You can narrow your results further by choosing one of the following sub-appliances:

1

IDEAL 150747 HEAT EXCHANGER ASS MX 3 CF100 4 SECTION

Part No: 1176833 MPN: 150747

Sorry, this part is now obsolete

View Part Details
1 product found