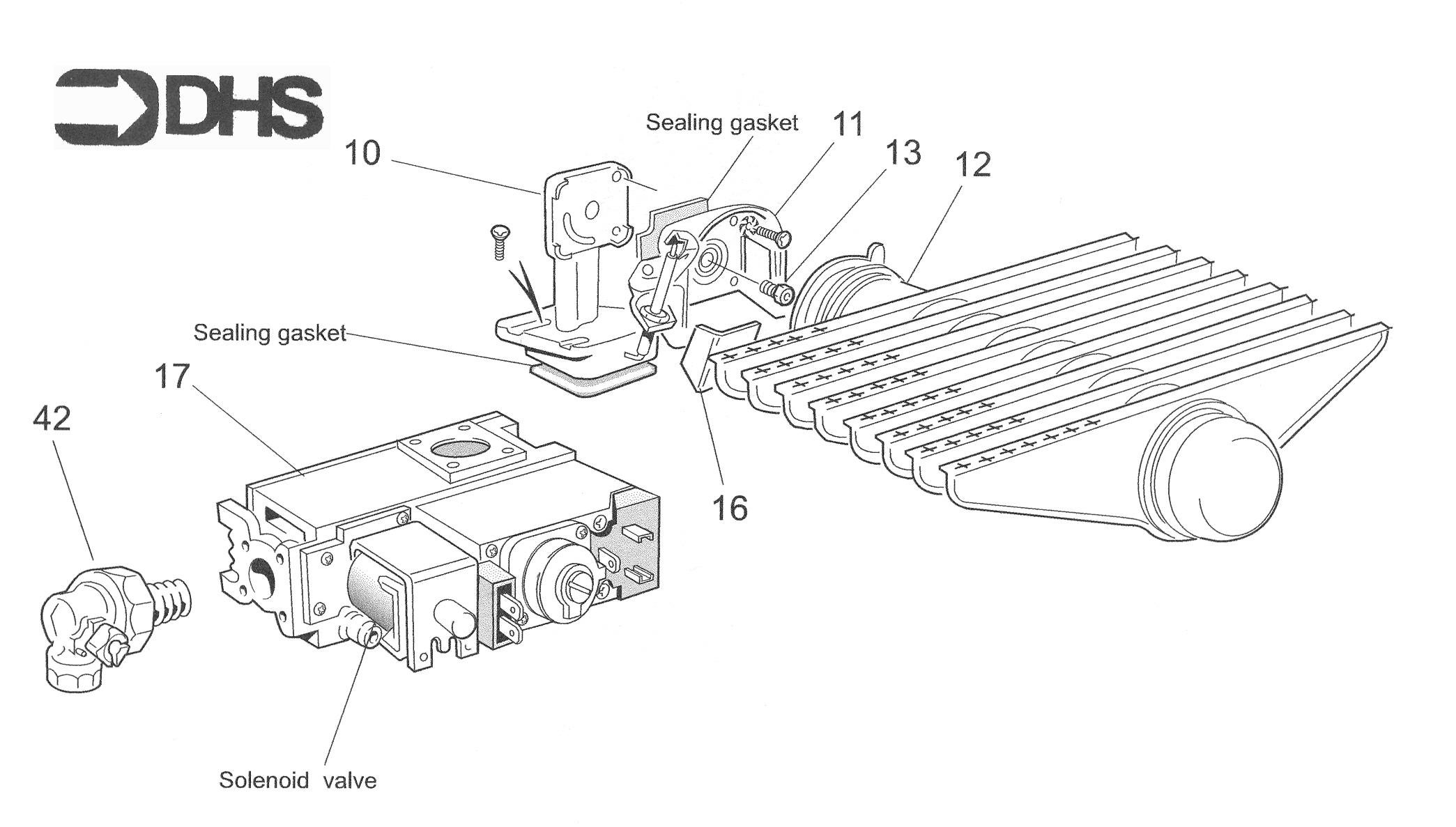
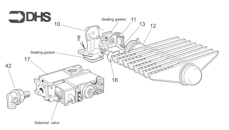
Gas Valves for Ideal Domestic Bristish Gas RD1 60
Brand: Ideal Domestic Range: Bristish Gas Model: RD1 60 GC Number: 41-349-75
We offer a wide range of spare parts for the Ideal Domestic Bristish Gas RD1 60. Can't find the part you're looking for? You can contact us and a member of our team will be more than happy to help find the part you need.
All of our boiler manuals are free to download from our boiler manuals section
You can narrow your results further by choosing one of the following sub-appliances:

Ideal 171441 Gas Valve Kit - Classic/British Gas/Classic Slimline/Optia
Part No: 1178193 MPN: 171441