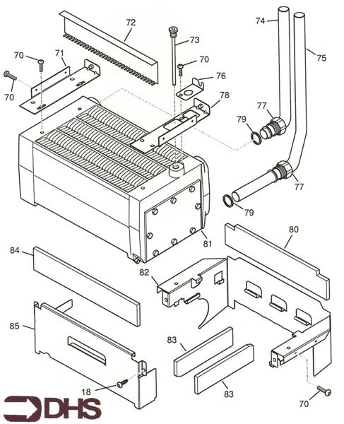
Screws, Nuts, Bolts & Clips for Glowworm Micron 60 FF (Page 2)

Brand: Glowworm Range: MicroN Model: 60 FF GC Number: 41-047-19

We have a wide range of spare parts for the Glowworm Micron 60 FF. Can't find the part you're looking for? You can contact us and a member of our team will be more than happy to help find the part you need.

All of our boiler manuals are free to download from our boiler manuals section

You can narrow your results further by choosing one of the following sub-appliances:

023

GLOWWORM SK6516 NUT M5 HEX FULL GC

Part No: 1336863 MPN: SK6516

Sorry, this part is now obsolete

View Part Details
044

GLOWWORM SK9221 CLIP STRAIN RELIEF

Part No: 1336954 MPN: SK9221

Sorry, this part is now obsolete

View Part Details
17 products found