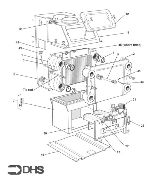
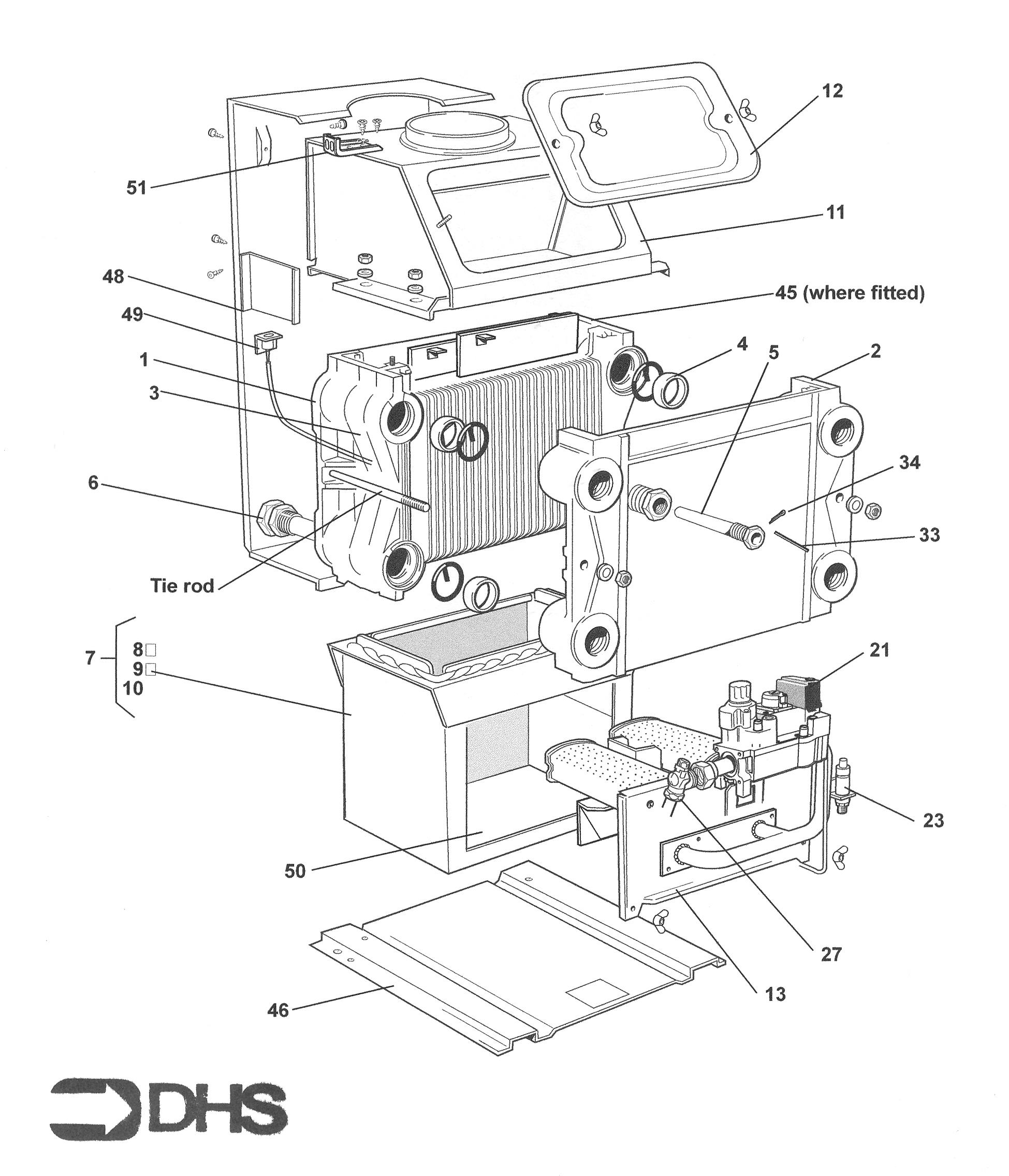
Gas Boiler Spares for Ideal Domestic Mexico Super 3 CF 125
Brand: Ideal Domestic Range: MEXICO Super 3 Model: CF 125 GC Number: 41-348-20
Here you will find all the spare parts for the Ideal Domestic Mexico Super 3 CF 125. Can't find the part you're looking for? You can contact us and a member of our team will be more than happy to help find the part you need.
Installation ManualAll of our boiler manuals are free to download from our boiler manuals section
You can narrow your results further by choosing one of the following sub-appliances:
22 Ideal 003248 O Ring 25.00mm I/D X 4.00mm Section Mn - BG/SG/Henrad/Mexico
Part No: 1170089 MPN: 003248
19 Ideal 079391 Pilot Burner Assembly Q349A1067 - Mexico Super 2/Mexico Super 3
Part No: 1174895 MPN: 079391
5 Ideal 055865 Thermostat Pocket Assembly 6339004 - Cavalcade/Concord/Mexico
Part No: 1170762 MPN: 055865




