Gas Boiler Spares for Ideal Mexico Super 3 Propane CF 125
Brand: Ideal Range: MEXICO Super 3 PROPANE Model: CF 125 GC Number: 41-349-25
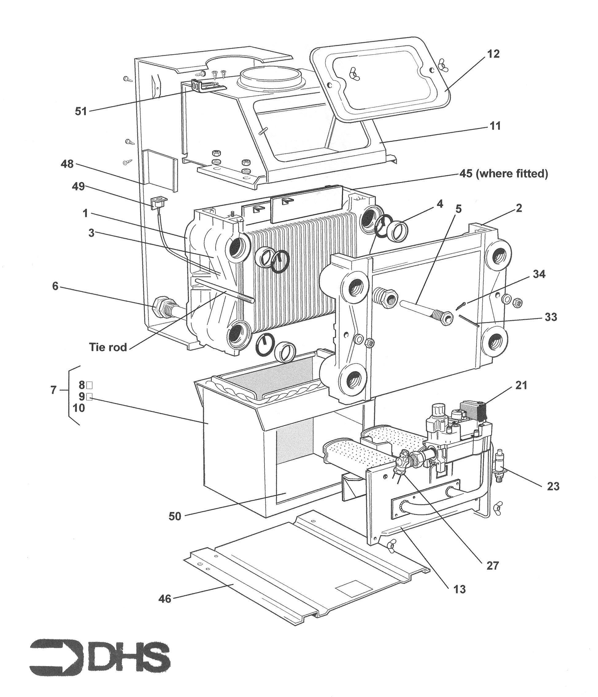
Here you will find all the spare parts for the Ideal Mexico Super 3 Propane CF 125. Can't find the part you're looking for? You can contact us and a member of our team will be more than happy to help find the part you need.
Installation ManualAll of our boiler manuals are free to download from our boiler manuals section
You can narrow your results further by choosing one of the following sub-appliances:

Ideal 004590 Injector Pilot 45004114004B - Mexico Super 2/Mexico Super 3
Part No: 1170238 MPN: 004590

Ideal 055865 Thermostat Pocket Assembly 6339004 - Cavalcade/Concord/Mexico
Part No: 1170762 MPN: 055865

Ideal 079391 Pilot Burner Assembly Q349A1067 - Mexico Super 2/Mexico Super 3
Part No: 1174895 MPN: 079391