Heat Exchanger for KESTON K K60 SYSTEM NG

You can narrow your results further by choosing one of the following sub-appliances:

44

KESTON B04210000 K50&60 HEAT EXCHANGER INSULATION

Part No: 1630375 MPN: B04210000

Sorry, this part is now obsolete

View Part Details
44

KESTON B08210000 K80 HEAT EXCHANGER INSULATION

Part No: 1630830 MPN: B08210000

Sorry, this part is now obsolete

View Part Details
8

KESTON B04100330 HEAT EXCHANGER FIXING ROD

Part No: 1630005 MPN: B04100330

Sorry, this part is now obsolete

View Part Details
43

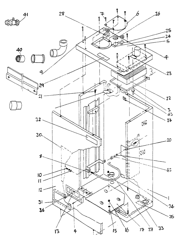
KESTON B04226000 HEAT EXCHANGER ASSLY (COMP WITH PIPES)

Part No: 1630435 MPN: B04226000

Sorry, this part is now obsolete

View Part Details
43

KESTON B08226000 K80 HEAT EXCHANGER ASSLY COMPLETE WITH FLUE

Part No: 1630840 MPN: B08226000

Sorry, this part is now obsolete

View Part Details
5 products found