Miscellaneous for Ideal Domestic Istor HE 325
Brand: Ideal Domestic Range: ISTOR HE Model: 325 GC Number: 41-394-14
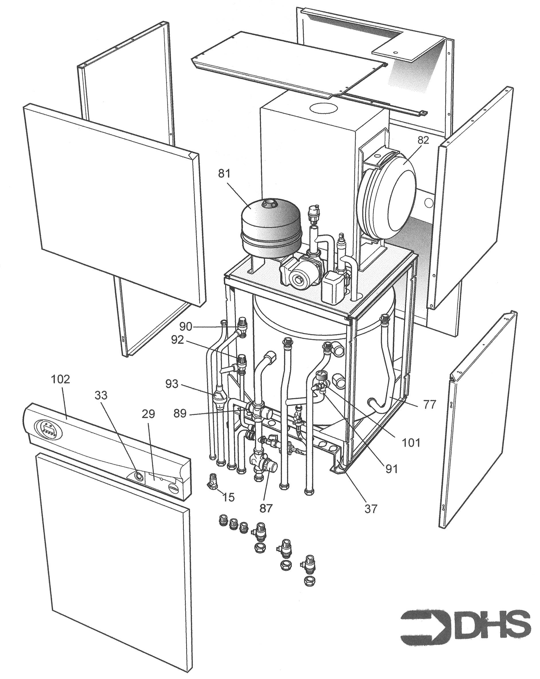
Here you can find the spare parts for the Ideal Domestic Istor He 325. Can't find the part you're looking for? You can contact us and a member of our team will be more than happy to help find the part you need.
Installation ManualAll of our boiler manuals are free to download from our boiler manuals section
You can narrow your results further by choosing one of the following sub-appliances:
19 IDEAL 170916 DRY FIRE STAT KIT ICOS/ISAR/ICOS SYSTEM
Part No: 1177946 MPN: 170916
not used from Feb 2004


