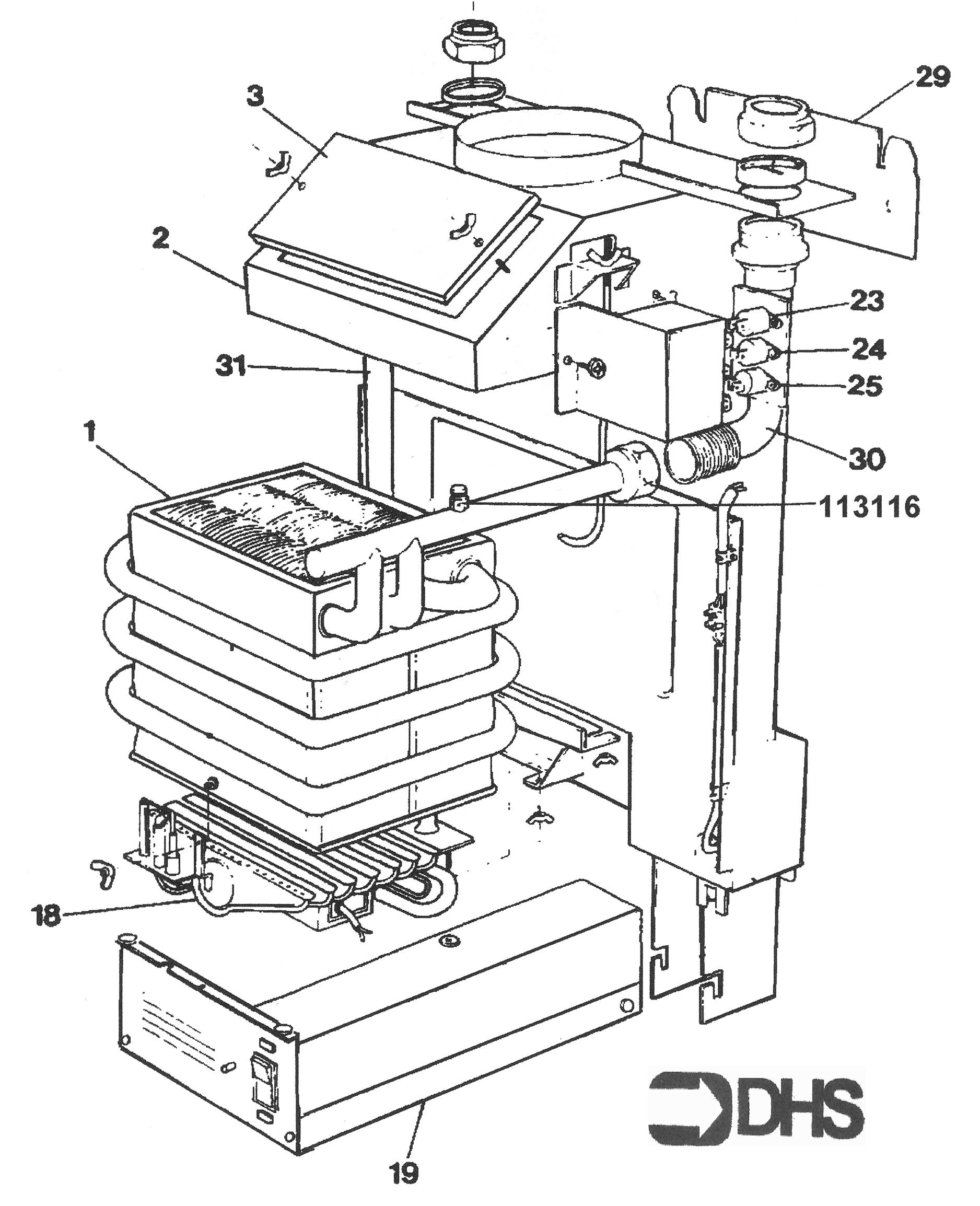
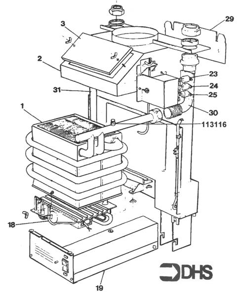
Miscellaneous for Ideal Domestic Elan CF 30

Brand: Ideal Domestic Range: ELAN Model: CF 30 GC Number: 41-415-02

Here you will find all the spare parts for the Ideal Domestic Elan CF 30. Can't find the part you're looking for? You can contact us and a member of our team will be more than happy to help find the part you need.

All of our boiler manuals are free to download from our boiler manuals section

You can narrow your results further by choosing one of the following sub-appliances:

IDEAL 004033 PLASTIC CAN SUPPRESSOR STC NO 22

IDEAL 004033 PLASTIC CAN SUPPRESSOR STC NO

Part No: 1170159 MPN: 004033

Sorry, this part is now obsolete

View Part Details
8

IDEAL 002611 INJECTOR BNR BRAY CAT 16 SIZE 800

Part No: 1170042 MPN: 002611

Sorry, this part is now obsolete

View Part Details
3

IDEAL 078582 C.O.COVER ASSY ELAN2 CF30

Part No: 1174692 MPN: 078582

Sorry, this part is now obsolete

View Part Details
3 products found