Miscellaneous for Ideal Mexico Super 3 Propane CF 140
Brand: Ideal Range: MEXICO Super 3 PROPANE Model: CF 140 GC Number: 41-349-26
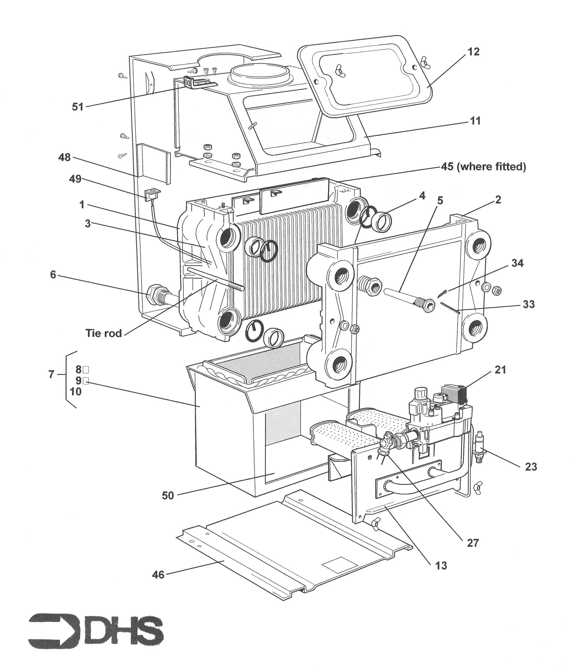
We have a range of spare parts for the Ideal Mexico Super 3 Propane CF 140. Can't find the part you're looking for? You can contact us and a member of our team will be more than happy to help find the part you need.
Installation ManualAll of our boiler manuals are free to download from our boiler manuals section
You can narrow your results further by choosing one of the following sub-appliances:


